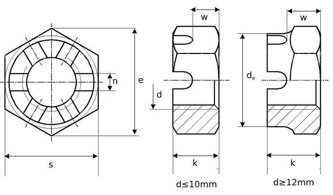
| Thread Size | M6 | (M7) | M8 | |
|---|---|---|---|---|
| P | Pitch (Coarse thread) | 1 | 1 | 1.25 |
| Fine thread | - | - | 1 | |
| Fine thread | - | - | - | |
| de | max | - | - | - |
| min | - | - | - | |
| e | min | 11.05 | 12.12 | 14.38 |
| k | max=nominal size | 5 | 5.5 | 6.5 |
| min | 4.7 | 5.2 | 6.14 | |
| w | max | 2.5 | 3 | 3.5 |
| min | 2.25 | 2.75 | 3.2 | |
| n | max | 2.25 | 2.25 | 2.75 |
| min | 2 | 2 | 2.5 | |
| s | max=nominal size | 10 | 11 | 13 |
| min | 9.78 | 10.73 | 12.73 | |
| Thread Size | M10 | M12 | (M14) | |
|---|---|---|---|---|
| P | Pitch (Coarse thread) | 1.5 | 1.75 | 2 |
| Fine thread | 1 | 1.5 | 1.5 | |
| Fine thread | 1.25 | 1.25 | - | |
| de | max | - | 16 | 18 |
| min | - | 15.57 | 17.57 | |
| e | min | 17.77 | 20.03 | 23.35 |
| k | max=nominal size | 8 | 10 | 11 |
| min | 7.64 | 9.64 | 10.57 | |
| w | max | 4 | 5 | 6 |
| min | 3.7 | 4.7 | 5.7 | |
| n | max | 3.05 | 3.8 | 3.8 |
| min | 2.8 | 3.5 | 3.5 | |
| s | max=nominal size | 16 | 18 | 21 |
| min | 15.73 | 17.73 | 20.67 | |
| Thread Size | M16 | (M18) | M20 | |
|---|---|---|---|---|
| P | Pitch (Coarse thread) | 2 | 2.5 | 2.5 |
| Fine thread | 1.5 | 1.5 | 2 | |
| Fine thread | - | 2 | 1.5 | |
| de | max | 22 | 25 | 28 |
| min | 21.48 | 24.3 | 27.3 | |
| e | min | 26.75 | 29.56 | 32.95 |
| k | max=nominal size | 13 | 15 | 16 |
| min | 12.57 | 14.3 | 15.3 | |
| w | max | 7 | 9 | 10 |
| min | 6.64 | 8.64 | 9.64 | |
| n | max | 4.8 | 4.8 | 4.8 |
| min | 4.5 | 4.5 | 4.5 | |
| s | max=nominal size | 24 | 27 | 30 |
| min | 23.67 | 26.16 | 29.16 | |
| Thread Size | (M22) | M24 | (M27) | |
|---|---|---|---|---|
| P | Pitch (Coarse thread) | 2.5 | 3 | 3 |
| Fine thread | 1.5 | 2 | 2 | |
| Fine thread | 2 | - | - | |
| de | max | 32 | 34 | 38 |
| min | 31 | 33 | 37 | |
| e | min | 37.29 | 39.55 | 45.2 |
| k | max=nominal size | 18 | 19 | 22 |
| min | 17.3 | 18.16 | 21.16 | |
| w | max | 10 | 11 | 14 |
| min | 9.64 | 10.57 | 13.57 | |
| n | max | 5.8 | 5.8 | 5.8 |
| min | 5.5 | 5.5 | 5.5 | |
| s | max=nominal size | 34 | 36 | 41 |
| min | 33 | 35 | 40 | |
| Thread Size | M30 | (M33) | M36 | |
|---|---|---|---|---|
| P | Pitch (Coarse thread) | 3.5 | 3.5 | 4 |
| Fine thread | 2 | 2 | 3 | |
| Fine thread | - | - | - | |
| de | max | 42 | 46 | 50 |
| min | 41 | 45 | 49 | |
| e | min | 50.85 | 55.37 | 60.79 |
| k | max=nominal size | 24 | 26 | 29 |
| min | 23.16 | 25.16 | 28.16 | |
| w | max | 15 | 17 | 20 |
| min | 14.57 | 16.57 | 19.48 | |
| n | max | 7.36 | 7.36 | 7.36 |
| min | 7 | 7 | 7 | |
| s | max=nominal size | 46 | 50 | 55 |
| min | 45 | 49 | 53.8 | |
| Thread Size | (M39) | M42 | (M45) | |
|---|---|---|---|---|
| P | Pitch (Coarse thread) | 4 | 4.5 | 4.5 |
| Fine thread | 3 | 3 | 3 | |
| Fine thread | - | - | - | |
| de | max | 55 | 58 | 62 |
| min | 53.8 | 56.8 | 60.8 | |
| e | min | 66.44 | 71.3 | 76.95 |
| k | max=nominal size | 31 | 33 | 34.5 |
| min | 30 | 32 | 33.5 | |
| w | max | 22 | 22 | 22.5 |
| min | 21.48 | 21.48 | 22.02 | |
| n | max | 7.36 | 9.36 | 9.36 |
| min | 7 | 9 | 9 | |
| s | max=nominal size | 60 | 65 | 70 |
| min | 58.8 | 63.1 | 68.1 | |
| Thread Size | M48 | (M52) | |
|---|---|---|---|
| P | Pitch (Coarse thread) | 5 | 5 |
| Fine thread | 3 | 3 | |
| Fine thread | - | - | |
| de | max | 65 | 70 |
| min | 63.8 | 68.8 | |
| e | min | 82.6 | 88.25 |
| k | max=nominal size | 36 | 38 |
| min | 35 | 37 | |
| w | max | 24 | 26 |
| min | 23.48 | 25.48 | |
| n | max | 9.36 | 9.36 |
| min | 9 | 9 | |
| s | max=nominal size | 75 | 80 |
| min | 73.1 | 78.1 | |
All information is strictly informative