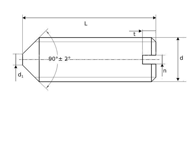
DIN 553

Slotted grub screws with cone point





Screw Thread
d
M1 M1.2 M1.4
P Pitch 0.25 0.25 0.3
d1 max 0.1 0.12 0.14
n Nominal Size 0.2 0.2 0.2
min 0.26 0.26 0.26
max 0.4 0.4 0.4
t min=nominal size 0.4 0.4 0.48
max 0.52 0.52 0.63

Screw Thread
d
M1.6 M2 M2.5
P Pitch 0.35 0.4 0.45
d1 max 0.16 0.2 0.25
n Nominal Size 0.25 0.25 0.4
min 0.31 0.31 0.46
max 0.45 0.45 0.6
t min=nominal size 0.56 0.64 0.72
max 0.74 0.84 0.95

Screw Thread
d
M3 (M3.5) M4
P Pitch 0.5 0.6 0.7
d1 max 0.3 0.35 0.4
n Nominal Size 0.4 0.5 0.6
min 0.46 0.56 0.66
max 0.6 0.7 0.8
t min=nominal size 0.8 0.96 1.12
max 1.05 1.21 1.42

Screw Thread
d
M5 M6 M8
P Pitch 0.8 1 1.25
d1 max 0.5 1.5 2
n Nominal Size 0.8 1 1.2
min 0.86 1.06 1.26
max 1 1.2 1.51
t min=nominal size 1.28 1.6 2
max 1.63 2 2.5

Screw Thread
d
M10 M12
P Pitch 1.5 1.75
d1 max 2.5 3
n Nominal Size 1.6 2
min 1.66 2.06
max 1.91 2.31
t min=nominal size 2.4 2.8
max 3 3.6



All information is strictly informative