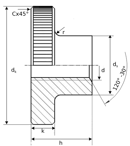
| Thread Size d③ |
M1 | M1.2 | M1.4 | |
|---|---|---|---|---|
| P | Pitch | 0.25 | 0.25 | 0.3 |
| c | ≈ | ① | ① | ① |
| dk | Nominal Size | 5.5 | 6 | 7 |
| max | 5.74 | 6.24 | 7.29 | |
| min | 5.26 | 5.76 | 6.71 | |
| ds | max=nominal size | 2.8 | 3 | 3.5 |
| min | 2.55 | 2.75 | 3.2 | |
| h | max=nominal size | 3.5 | 4 | 4.7 |
| min | 3.2 | 3.7 | 4.4 | |
| k | max=nominal size | 1.5 | 1.5 | 2 |
| min | 1.25 | 1.25 | 1.75 | |
| r | 0.5 | 0.5 | 0.5 | |
| Knurling division | 0.5 | 0.5 | 0.5 | |
| per 1000 units ≈ kg | 0.357 | 0.445 | 0.765 | |
| Thread Size d③ |
M1.6 | M2 | M2.5 | |
|---|---|---|---|---|
| P | Pitch | 0.35 | 0.4 | 0.45 |
| c | ≈ | ① | ① | 0.3 |
| dk | Nominal Size | 7.5 | 9 | 11 |
| max | 7.79 | 9.29 | 11.35 | |
| min | 7.21 | 8.71 | 10.65 | |
| ds | max=nominal size | 3.8 | 4.5 | 5 |
| min | 3.5 | 4.2 | 4.7 | |
| h | max=nominal size | 5 | 5.3 | 6.5 |
| min | 4.7 | 5 | 6.14 | |
| k | max=nominal size | 2 | 2 | 2.5 |
| min | 1.75 | 1.75 | 2.25 | |
| r | 0.5 | 0.5 | 0.5 | |
| Knurling division | 0.5 | 0.5 | 0.6 | |
| per 1000 units ≈ kg | 0.9 | 1.3 | 2.2 | |
| Thread Size d③ |
M3 | M4 | M5 | |
|---|---|---|---|---|
| P | Pitch | 0.5 | 0.7 | 0.8 |
| c | ≈ | 0.3 | 0.4 | 0.4 |
| dk | Nominal Size | 12 | 16 | 20 |
| max | 12.35 | 16.35 | 20.42 | |
| min | 11.65 | 15.65 | 19.58 | |
| ds | max=nominal size | 6 | 8 | 10 |
| min | 5.7 | 7.64 | 9.64 | |
| h | max=nominal size | 7.5 | 9.5 | 11.5 |
| min | 7.14 | 9.14 | 11.07 | |
| k | max=nominal size | 2.5 | 3.5 | 4 |
| min | 2.25 | 3.2 | 3.7 | |
| r | 0.5 | 0.5 | 1 | |
| Knurling division | 0.6 | 0.6 | 0.6 | |
| per 1000 units ≈ kg | 3 | 7.19 | 13 | |
| Thread Size d③ |
M6 | M8 | M10 | |
|---|---|---|---|---|
| P | Pitch | 1 | 1.25 | 1.5 |
| c | ≈ | 0.5 | 0.6 | 0.8 |
| dk | Nominal Size | 24 | 30 | 36 |
| max | 24.42 | 30.42 | 36.5 | |
| min | 23.58 | 29.58 | 35.5 | |
| ds | max=nominal size | 12 | 16 | 20 |
| min | 11.57 | 15.57 | 19.48 | |
| h | max=nominal size | 15 | 18 | 23 |
| min | 14.57 | 17.57 | 22.48 | |
| k | max=nominal size | 5 | 6 | 8 |
| min | 4.7 | 5.7 | 7.64 | |
| r | 1 | 2 | 2 | |
| Knurling division | 0.6 | 0.6 | 0.8 | |
| per 1000 units ≈ kg | 24 | 46 | 88 | |
All information is strictly informative