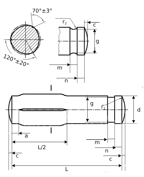
| Nominal Diameter d |
Φ2 | Φ2.5 | Φ3 | Φ4 | ||
|---|---|---|---|---|---|---|
| d | min | 2 | 2.5 | 3 | 4 | |
| min | 1.975 | 2.475 | 2.975 | 3.925 | ||
| a | max | 1.7 | 2 | 2 | 2.4 | |
| min | 0.7 | 1 | 1 | 1.4 | ||
| c | ≈ | 0.25 | 0.3 | 0.4 | 0.5 | |
| g | Type A | max | - | - | 2.8 | 3.8 |
| min | - | - | 2.74 | 3.725 | ||
| m | Type A | min | - | - | 0.5 | 0.5 |
| max | - | - | 0.64 | 0.64 | ||
| g | Type B | max | 1.5 | 1.9 | 2.3 | 3.2 |
| min | 1.44 | 1.84 | 2.24 | 3.125 | ||
| m | Type B | max | 0.46 | 0.56 | 0.67 | 0.67 |
| min | 0.44 | 0.54 | 0.64 | 0.64 | ||
| g | Type C | 1 | 1.2 | 1.5 | 2.4 | |
| m | Type C | Nominal Size(±1/2 IT14) | 0.8 | 0.8 | 1 | 1.4 |
| max | 0.925 | 0.925 | 1.125 | 1.525 | ||
| min | 0.675 | 0.675 | 0.875 | 1.275 | ||
| r2 | Type C | 0.4 | 0.4 | 0.5 | 0.7 | |
| n | 0.8 | 0.8 | 1 | 1.4 | ||
| Minimum Double Shear,kN | 2.85 | 4.25 | 6.15 | 10.6 | ||
| Nominal Diameter d |
Φ5 | Φ6 | Φ8 | ||
|---|---|---|---|---|---|
| d | min | 5 | 6 | 8 | |
| min | 4.925 | 5.925 | 7.91 | ||
| a | max | 2.5 | 3 | 3 | |
| min | 1.5 | 2 | 2 | ||
| c | ≈ | 0.6 | 0.8 | 1 | |
| g | Type A | max | 4.8 | 5.7 | 7.6 |
| min | 4.725 | 5.625 | 7.51 | ||
| m | Type A | min | 0.7 | 0.8 | 0.9 |
| max | 0.84 | 0.94 | 1.04 | ||
| g | Type B | max | 4 | 5 | 7 |
| min | 3.925 | 4.925 | 6.91 | ||
| m | Type B | max | 0.77 | 0.77 | 0.97 |
| min | 0.74 | 0.74 | 0.94 | ||
| g | Type C | 2.8 | 3.8 | 5 | |
| m | Type C | Nominal Size(±1/2 IT14) | 1.6 | 1.6 | 2 |
| max | 1.725 | 1.725 | 2.125 | ||
| min | 1.475 | 1.475 | 1.875 | ||
| r2 | Type C | 0.8 | 0.8 | 1 | |
| n | 1.6 | 1.6 | 2 | ||
| Minimum Double Shear,kN | 16.5 | 22.8 | 40.5 | ||
| Nominal Diameter d |
Φ10 | Φ12 | Φ14 | ||
|---|---|---|---|---|---|
| d | min | 10 | 12 | 14 | |
| min | 9.91 | 11.89 | 13.89 | ||
| a | max | 3.5 | 3.5 | 3.5 | |
| min | 2.5 | 2.5 | 2.5 | ||
| c | ≈ | 1.2 | 1.6 | 1.6 | |
| g | Type A | max | 9.6 | 11.5 | 13.4 |
| min | 9.51 | 11.39 | 13.29 | ||
| m | Type A | min | 1.1 | 1.1 | 1.1 |
| max | 1.24 | 1.24 | 1.24 | ||
| g | Type B | max | 9 | 10 | 12 |
| min | 8.91 | 9.89 | 11.89 | ||
| m | Type B | max | 1.21 | 1.31 | 1.41 |
| min | 1.15 | 1.25 | 1.35 | ||
| g | Type C | 6.8 | 8.2 | 9.6 | |
| m | Type C | Nominal Size(±1/2 IT14) | 2.6 | 3 | 3 |
| max | 2.725 | 3.125 | 3.125 | ||
| min | 2.475 | 2.875 | 2.875 | ||
| r2 | Type C | 1.3 | 1.5 | 1.5 | |
| n | 2.6 | 3 | 3 | ||
| Minimum Double Shear,kN | 63.2 | 91 | 124 | ||
| Nominal Diameter d |
Φ16 | Φ20 | Φ25 | ||
|---|---|---|---|---|---|
| d | min | 16 | 20 | 25 | |
| min | 15.89 | 19.87 | 24.87 | ||
| a | max | 3.5 | 4 | 4 | |
| min | 2.5 | 3 | 3 | ||
| c | ≈ | 2 | 2.5 | 3 | |
| g | Type A | max | 15.2 | 19 | 23.9 |
| min | 15.09 | 18.87 | 23.77 | ||
| m | Type A | min | 1.1 | 1.3 | 1.3 |
| max | 1.24 | 1.44 | 1.44 | ||
| g | Type B | max | 15 | 19 | 24 |
| min | 14.89 | 18.89 | 23.87 | ||
| m | Type B | max | 1.61 | 1.86 | 2.11 |
| min | 1.55 | 1.8 | 2.05 | ||
| g | Type C | 11 | 14 | 18 | |
| m | Type C | Nominal Size(±1/2 IT14) | 4 | 5 | 6 |
| max | 4.15 | 5.15 | 6.15 | ||
| min | 3.85 | 4.85 | 5.85 | ||
| r2 | Type C | 2 | 2.5 | 3 | |
| n | 4 | 5 | 6 | ||
| Minimum Double Shear,kN | 156.8 | 236.5 | 370.1 | ||
All information is strictly informative