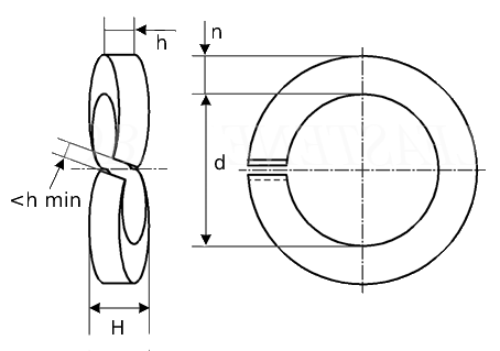
| Nominal Diameter | 2 | 2.5 | 3 | 3.5 | |
|---|---|---|---|---|---|
| d | min | 2.1 | 2.6 | 3.1 | 3.6 |
| max | 2.4 | 2.9 | 3.4 | 3.9 | |
| n | Nominal Size | 0.9 | 1 | 1.3 | 1.3 |
| min | 0.8 | 0.9 | 1.2 | 1.2 | |
| max | 1 | 1.1 | 1.4 | 1.4 | |
| h | Nominal Size | 0.5 | 0.6 | 0.7 | 0.7 |
| min | 0.4 | 0.5 | 0.6 | 0.6 | |
| max | 0.6 | 0.7 | 0.8 | 0.8 | |
| H | min | 0.7 | 0.9 | 1.1 | 1.1 |
| max | 0.9 | 1.1 | 1.3 | 1.3 | |
| per 1000 units ≈ kg | ≈ | 0.035 | 0.055 | 0.09 | 0.1 |
| Nominal Diameter | 4 | 5 | 6 | |
|---|---|---|---|---|
| d | min | 4.1 | 5.1 | 6.1 |
| max | 4.4 | 5.4 | 6.5 | |
| n | Nominal Size | 1.5 | 1.8 | 2.5 |
| min | 1.4 | 1.7 | 2.4 | |
| max | 1.6 | 1.9 | 2.6 | |
| h | Nominal Size | 0.8 | 1 | 1.3 |
| min | 0.7 | 0.9 | 1.2 | |
| max | 0.9 | 1.1 | 1.4 | |
| H | min | 1.2 | 1.5 | 2 |
| max | 1.4 | 1.7 | 2.2 | |
| per 1000 units ≈ kg | ≈ | 0.15 | 0.3 | 0.7 |
| Nominal Diameter | 7 | 8 | 10 | |
|---|---|---|---|---|
| d | min | 7.1 | 8.1 | 10.2 |
| max | 7.5 | 8.5 | 10.7 | |
| n | Nominal Size | 2.5 | 3 | 3.5 |
| min | 2.35 | 2.85 | 3.3 | |
| max | 2.65 | 3.15 | 3.7 | |
| h | Nominal Size | 1.3 | 1.6 | 1.8 |
| min | 1.2 | 1.5 | 1.7 | |
| max | 1.4 | 1.7 | 1.9 | |
| H | min | 2 | 2.45 | 2.85 |
| max | 2.2 | 2.75 | 3.15 | |
| per 1000 units ≈ kg | ≈ | 0.75 | 1.3 | 2.1 |
| Nominal Diameter | 12 | 14 | 16 | |
|---|---|---|---|---|
| d | min | 12.2 | 14.2 | 16.2 |
| max | 12.7 | 14.7 | 17 | |
| n | Nominal Size | 4 | 4.9 | 5 |
| min | 3.8 | 4.7 | 4.8 | |
| max | 4.2 | 5.1 | 5.2 | |
| h | Nominal Size | 2.1 | 2.4 | 2.8 |
| min | 1.95 | 2.25 | 2.65 | |
| max | 2.25 | 2.55 | 2.95 | |
| H | min | 3.35 | 3.9 | 4.5 |
| max | 3.65 | 4.3 | 5.1 | |
| per 1000 units ≈ kg | ≈ | 3.2 | 4.8 | 7 |
| Nominal Diameter | 18 | 20 | 22 | |
|---|---|---|---|---|
| d | min | 18.2 | 20.2 | 22.5 |
| max | 19 | 21.2 | 23.5 | |
| n | Nominal Size | 5 | 6 | 6 |
| min | 4.8 | 5.8 | 5.8 | |
| max | 5.2 | 6.2 | 6.2 | |
| h | Nominal Size | 2.8 | 3.2 | 3.2 |
| min | 2.65 | 3 | 3 | |
| max | 2.95 | 3.4 | 3.4 | |
| H | min | 4.5 | 5.1 | 5.1 |
| max | 5.1 | 5.9 | 5.9 | |
| per 1000 units ≈ kg | ≈ | 7.8 | 12.2 | 13.3 |
| Nominal Diameter | 24 | 27 | 30 | |
|---|---|---|---|---|
| d | min | 24.5 | 27.5 | 30.5 |
| max | 25.5 | 28.5 | 31.7 | |
| n | Nominal Size | 7 | 7 | 8 |
| min | 6.75 | 6.75 | 7.75 | |
| max | 7.25 | 7.25 | 8.25 | |
| h | Nominal Size | 4 | 4 | 6 |
| min | 3.8 | 3.8 | 5.8 | |
| max | 4.2 | 4.2 | 6.2 | |
| H | min | 6.5 | 6.5 | 9.5 |
| max | 7.5 | 7.5 | 10.5 | |
| per 1000 units ≈ kg | ≈ | 21.5 | 23.7 | 42.5 |
| Nominal Diameter | 36 | 42 | 48 | |
|---|---|---|---|---|
| d | min | 36.5 | 42.5 | 49 |
| max | 37.7 | 43.7 | 50.5 | |
| n | Nominal Size | 10 | 12 | 12 |
| min | 9.75 | 11.75 | 11.75 | |
| max | 10.25 | 12.25 | 12.25 | |
| h | Nominal Size | 6 | 7 | 7 |
| min | 5.8 | 6.75 | 6.75 | |
| max | 6.2 | 7.25 | 7.25 | |
| H | min | 10.3 | 12 | 12 |
| max | 11.3 | 13 | 13 | |
| per 1000 units ≈ kg | ≈ | 68 | 111 | 123 |
| Nominal Diameter | 56 | 64 | 72 | |
|---|---|---|---|---|
| d | min | 57 | 65 | 73 |
| max | 58.5 | 66.5 | 74.5 | |
| n | Nominal Size | 14 | 14 | 14 |
| min | 13.75 | 13.75 | 13.75 | |
| max | 14.25 | 14.25 | 14.25 | |
| h | Nominal Size | 8 | 8 | 8 |
| min | 7.75 | 7.75 | 7.75 | |
| max | 8.25 | 8.25 | 8.25 | |
| H | min | 14 | 14 | 14 |
| max | 15.5 | 15.5 | 15.5 | |
| per 1000 units ≈ kg | ≈ | 193 | 218 | 240 |
| Nominal Diameter | 80 | 90 | 100 | |
|---|---|---|---|---|
| d | min | 81 | 91 | 101 |
| max | 82.5 | 92.5 | 102.5 | |
| n | Nominal Size | 14 | 14 | 14 |
| min | 13.75 | 13.75 | 13.75 | |
| max | 14.25 | 14.25 | 14.25 | |
| h | Nominal Size | 8 | 8 | 8 |
| min | 7.75 | 7.75 | 7.75 | |
| max | 8.25 | 8.25 | 8.25 | |
| H | min | 14 | 14 | 14 |
| max | 15.5 | 15.5 | 15.5 | |
| per 1000 units ≈ kg | ≈ | 262 | 290 | 318 |
All information is strictly informative