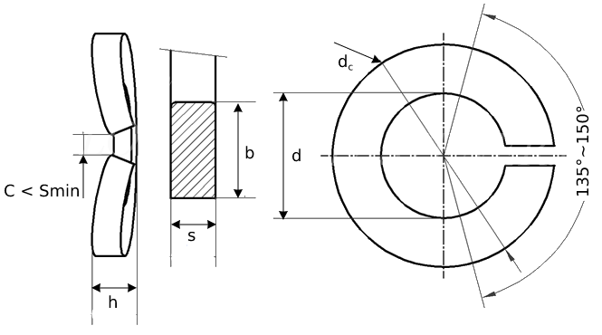
| Nominal Diameter | 2 | 2.5 | 3 | |
|---|---|---|---|---|
| d | min | 2.1 | 2.6 | 3.1 |
| max | 2.4 | 2.9 | 3.4 | |
| dc | max | 4.4 | 5.1 | 6.2 |
| b | Nominal Size | 0.9 | 1 | 1.3 |
| max | 1 | 1.1 | 1.4 | |
| min | 0.8 | 0.9 | 1.2 | |
| s | Nominal Size | 0.5 | 0.6 | 0.7 |
| max | 0.6 | 0.7 | 0.8 | |
| min | 0.4 | 0.5 | 0.6 | |
| h | min | 0.7 | 0.9 | 1.1 |
| max | 0.9 | 1.1 | 1.3 | |
| per 1000 units ≈ kg | 0.035 | 0.055 | 0.09 | |
| Nominal Diameter | 3.5 | 4 | 5 | |
|---|---|---|---|---|
| d | min | 3.6 | 4.1 | 5.1 |
| max | 3.9 | 4.4 | 5.4 | |
| dc | max | 6.7 | 7.6 | 9.2 |
| b | Nominal Size | 1.3 | 1.5 | 1.8 |
| max | 1.4 | 1.6 | 1.9 | |
| min | 1.2 | 1.4 | 1.7 | |
| s | Nominal Size | 0.7 | 0.8 | 1 |
| max | 0.8 | 0.9 | 1.1 | |
| min | 0.6 | 0.7 | 0.9 | |
| h | min | 1.1 | 1.2 | 1.5 |
| max | 1.3 | 1.4 | 1.7 | |
| per 1000 units ≈ kg | 0.1 | 0.15 | 0.3 | |
| Nominal Diameter | 6 | 7 | 8 | |
|---|---|---|---|---|
| d | min | 6.1 | 7.1 | 8.1 |
| max | 6.5 | 7.5 | 8.5 | |
| dc | max | 11.8 | 12.8 | 14.8 |
| b | Nominal Size | 2.5 | 2.5 | 3 |
| max | 2.65 | 2.65 | 3.15 | |
| min | 2.35 | 2.35 | 2.85 | |
| s | Nominal Size | 1.3 | 1.3 | 1.6 |
| max | 1.4 | 1.4 | 1.7 | |
| min | 1.2 | 1.2 | 1.5 | |
| h | min | 2 | 2 | 2.45 |
| max | 2.2 | 2.2 | 2.75 | |
| per 1000 units ≈ kg | 0.7 | 0.75 | 1.3 | |
| Nominal Diameter | 10 | 12 | 14 | |
|---|---|---|---|---|
| d | min | 10.2 | 12.2 | 14.2 |
| max | 10.7 | 12.7 | 14.7 | |
| dc | max | 18.1 | 21.1 | 24.1 |
| b | Nominal Size | 3.5 | 4 | 4.5 |
| max | 3.7 | 4.2 | 4.7 | |
| min | 3.3 | 3.8 | 4.3 | |
| s | Nominal Size | 1.8 | 2.1 | 2.4 |
| max | 1.9 | 2.25 | 2.55 | |
| min | 1.7 | 1.95 | 2.25 | |
| h | min | 2.85 | 3.35 | 3.9 |
| max | 3.15 | 3.65 | 4.3 | |
| per 1000 units ≈ kg | 2.1 | 3.2 | 4.8 | |
| Nominal Diameter | 16 | 18 | 20 | |
|---|---|---|---|---|
| d | min | 16.2 | 18.2 | 20.2 |
| max | 17 | 19 | 21.2 | |
| dc | max | 27.4 | 29.4 | 33.6 |
| b | Nominal Size | 5 | 5 | 6 |
| max | 5.2 | 5.2 | 6.2 | |
| min | 4.8 | 4.8 | 5.8 | |
| s | Nominal Size | 2.8 | 2.8 | 3.2 |
| max | 2.95 | 2.95 | 3.4 | |
| min | 2.65 | 2.65 | 3 | |
| h | min | 4.5 | 4.5 | 5.1 |
| max | 5.1 | 5.1 | 5.9 | |
| per 1000 units ≈ kg | 7 | 7.8 | 12.2 | |
| Nominal Diameter | 22 | 24 | 27 | |
|---|---|---|---|---|
| d | min | 22.5 | 24.5 | 27.5 |
| max | 23.5 | 25.5 | 28.5 | |
| dc | max | 35.9 | 40 | 43 |
| b | Nominal Size | 6 | 7 | 7 |
| max | 6.2 | 7.25 | 7.25 | |
| min | 5.8 | 6.75 | 6.75 | |
| s | Nominal Size | 3.2 | 4 | 4 |
| max | 3.4 | 4.2 | 4.2 | |
| min | 3 | 3.8 | 3.8 | |
| h | min | 5.1 | 6.5 | 6.5 |
| max | 5.9 | 7.5 | 7.5 | |
| per 1000 units ≈ kg | 13.3 | 21.5 | 23.7 | |
| Nominal Diameter | 30 | 36 | |
|---|---|---|---|
| d | min | 30.5 | 36.5 |
| max | 31.7 | 37.7 | |
| dc | max | 48.2 | 58.2 |
| b | Nominal Size | 8 | 10 |
| max | 8.25 | 10.25 | |
| min | 7.75 | 9.75 | |
| s | Nominal Size | 6 | 6 |
| max | 6.2 | 6.2 | |
| min | 5.8 | 5.8 | |
| h | min | 9.5 | 10.3 |
| max | 10.5 | 11.3 | |
| per 1000 units ≈ kg | 42.5 | 68 | |
All information is strictly informative